Weboldalunk használatával jóváhagyja a cookie-k használatát a Cookie-kkal kapcsolatos irányelv értelmében.
SZÉP kártyás fizetés
SZÉP kártyás fizetés
OTP / MBH / K&H Szép kártyás fizetés könnyedén. Online rendszerünkben közvetlenül használhatja SZÉP kártyáját.
Aznapi vagy 1 munkanapos csomagfeladás GLS-el.
Aznapi vagy 1 munkanapos csomagfeladás GLS-el.
Leggyorsabb logisztikai rendszerrel dolgozunk.
Biztonságos fizetés
Biztonságos fizetés
Cib, simplepay, google pay, apple pay, qvik online fizetési lehetőségek.
Park Tool állító csavar DAG-3
2.990 Ft
2.929 Ft
Menny.:db

Park Tool állító csavar DAG-3

2.990 Ft
2.929 Ft
Menny.:db

   

SZÉP kártya elfogadás   Ingyenes kiszállítás 30.000 Ft-tól.

Raktáron: Aznapi vagy 1 napos GLS feladás
Szállítási díj: 1.290 Ft
Termék értékelés: Értékeld elsőként
Cikkszám: BKR_244353

RÉSZLETES LEÍRÁS

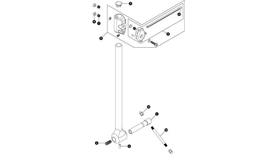
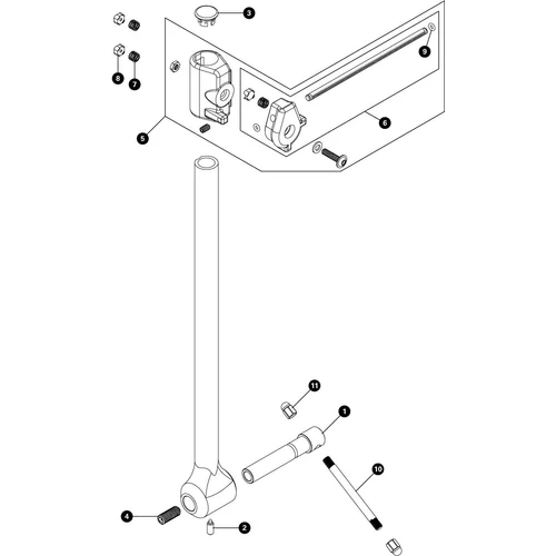
Robbantott ábra alkatrész: 4


 
  • Kiszerelés: db

 

Vélemények a termékről

Erről a termékről még nem érkezett vélemény.

Vásárlóink véleménye rólunk

Erre szükséged lehet

Joe's No-Flats Bio-Degreaser láncmosó [500 ml]

Aznapi vagy 1 napos GLS feladás
(1)
6.990 Ft 6.219 Ft

POWER BRAKE CLEAN tárcsafék tisztító spray 750ml

Aznapi vagy 1 napos GLS feladás
4.590 Ft 4.219 Ft